• The new WDWMAGIC iOS app is here!
    Stay up to date with the latest Disney news, photos, and discussions right from your iPhone. The app is free to download and gives you quick access to news articles, forums, photo galleries, park hours, weather and Lightning Lane pricing. Learn More
  • Welcome to the WDWMAGIC.COM Forums!
    Please take a look around, and feel free to sign up and join the community.
GrumpyFan

US07854660-20101221-D00004

  • Media owner GrumpyFan
  • Date added
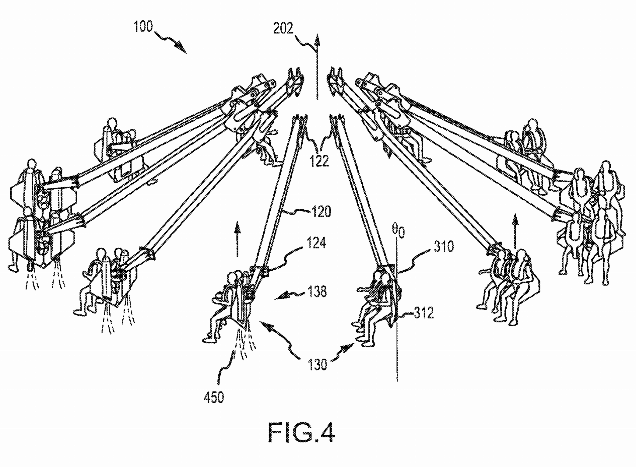
FIG. 4, the vehicle 130 is adapted to provide special effects associated with the ride such as a smoke/fog, lights, and/or noises associated with the ride theme, e.g., noises, lights, smoke, and the like may be generated by the vehicle body similar to lift off of a jet pack with FIG. 4 illustrating discharge of exhaust 450 during lift off (or core/drive structure 112 movement) to the initial position 130 as shown with arrow 202.
 

Media information

Album
Disney Concept Art
Added by
GrumpyFan
Date added
View count
1,456
Comment count
1
Rating
0.00 star(s) 0 ratings

Share this media

Back
Top Bottom