• The new WDWMAGIC iOS app is here!
    Stay up to date with the latest Disney news, photos, and discussions right from your iPhone. The app is free to download and gives you quick access to news articles, forums, photo galleries, park hours, weather and Lightning Lane pricing. Learn More
  • Welcome to the WDWMAGIC.COM Forums!
    Please take a look around, and feel free to sign up and join the community.
GrumpyFan

US07854660-20101221-D00000

  • Media owner GrumpyFan
  • Date added
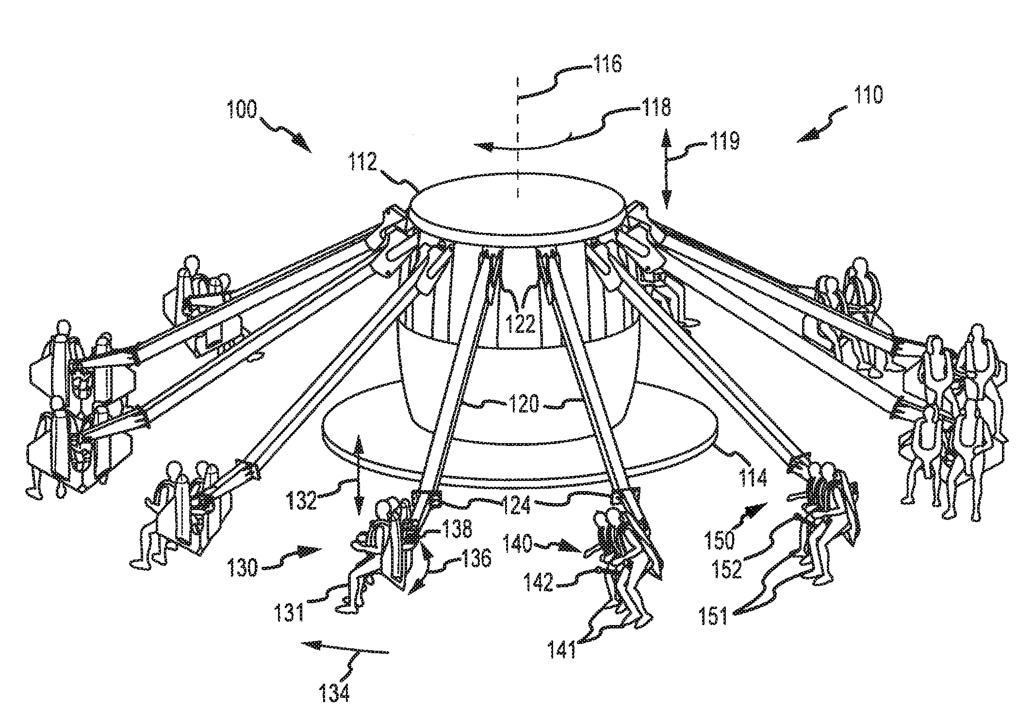
Disney patent images for Jet Pack style attraction using a spinner hub with attached arms.
FIG. 1 illustrates a ride 100 according to one embodiment of the invention for providing a free flying experience to guests or passengers. One of the exciting aspects of the invention is that the vehicles described can be used to retrofit a variety of existing drive systems and are generally useful for nearly any drive system that provides a round ride experience such as with a centrally positioned and rotatable drive device that includes structures or arms or similar mechanisms for supporting a plurality of the inventive vehicles such as in a circular pattern about the central axis of the drive assembly. As one useful, but not limiting example, the ride 100 may include a drive and support assembly 110, which may be configured as for a typical round iron ride such as the drive and support assemblies designed and distributed by Zamperla Inc., 49 Road, Parsippany, N.J., USA or other similar ride design and production companies. Often, such an assembly 110 only operates at relatively low speeds such as less than about 20 RPM and more typically less than about 10 RPM such as about 9 RPM in some cases. The vehicle designs provided by this description are well suited for use with these low RPM drive assemblies 110 to provide a sensation of flight without the need for high centrifugal forces.
 

Media information

Album
Disney Concept Art
Added by
GrumpyFan
Date added
View count
1,644
Comment count
1
Rating
0.00 star(s) 0 ratings

Share this media

Back
Top Bottom